驾校资讯NEWS

报名热线

010-51650830
       

地址:北京市大兴区黄村镇芦花路临28号(世界公园往南2公里)

北京励丰科技有限公司

∽∽∽∽∽∽∽∽∽∽∽∽∽∽∽∽

丰台区刘家窑报名中心

电话:010-67606001

地址:丰台区南三环中路17号(刘家窑桥西公交车站往西50米)

朝阳区劲松报名中心

电话:010-67157198

地址:朝阳区东三环南路劲松桥东南角

房山区良乡报名中心

电话:010-81387381

地址:房山区良乡镇拱辰南大街44号荣鹏花园底商

大兴区旧宫报名中心

电话:010-67956856

地址:大兴区旧宫镇清逸园甲区1号楼底商(旧宫公交站旁)

大兴区亦庄报名中心

电话:010-87885988

地址:大兴区亦庄北环西路天华园一里三区14号楼底商

丰台区草桥报名中心

电话:010-63585889

地址:丰台区南三环西路13号(300路总站出口旁)

资讯内容
科目三路考考试要求、标准及技巧!
发布时间:2016-03-17 21:34:41    来源:公交驾校

        科目三,又称大路考,是机动车驾驶证考核的一部分,是机动车驾驶人考试中道路驾驶技能和安全文明驾驶常识考试科目的简称。

        不同的准驾车型道路驾驶技能考试内容不同,一般包括:上车准备、起步、直线行驶、加减挡位操作、变更车道、靠边停车、直行通过路口、路口左转弯、路口右转弯、通过人行横道线、通过学校区域、通过公共汽车站、会车、超车、掉头、夜间行驶。

科目三路考到底该如何操作才能顺利通过呢,我们一起来看看。

考试项目

1.上车准备

2.模拟夜间灯光考试

3.起步

4.路口右转弯

5.掉头

6.直行通过路口

7.路口左转弯

8.通过公交车站

9.加减挡操作

10.会车

11.超车

12.直线行驶

13.变更车道

14.通过人行横道

15.通过学校区域

16.靠边停车

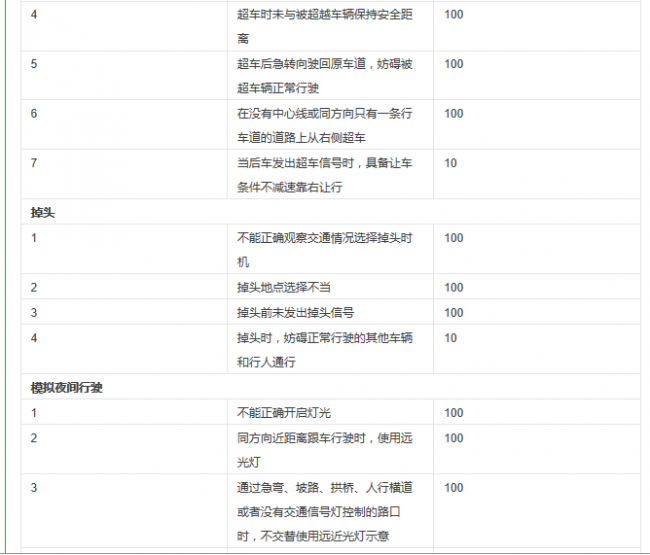
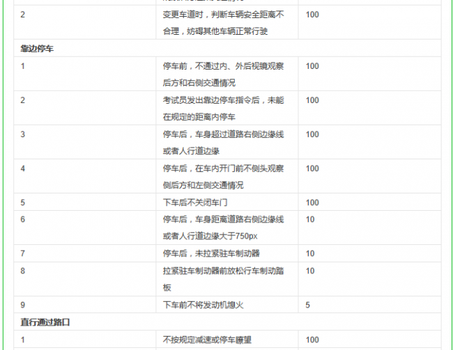
合格标准

科目三道路驾驶技能成绩达到90分的为合格。

注意事项

1、绕车一周观察车辆外观和周边环境时,为保证雷达信号检测的准确性,请保持人身与车身距离在1米范围内。

2、变更车道、超车、直线行驶,必须在有道路分界线(虚线)的时候,才可以进行识别。

3、桥上不准变更车道、超车。

4、鸣笛的时候,长按喇叭不低于3秒。

5、所有项目的转向灯不得低于3秒。

6、踩副刹是直接不合格。

7、合格的时候由安全员根据实际道路情况,不合格的时候系统自动会让靠边停车。

8、科目三全程速度不得超过60km/h。

9、所有减速慢行的项目不得超过30km/h。